Polaris Service Manual: Disassembly
Major Component Locations
As can be seen in figure 4-1, most of the electronic components are on the main board. Six identical synthesizer voices are on the right and the computer with expandable memory on the left. Notice that all of the chips on this board are socketed, a great benefit to expedient troubleshooting. Six "satellite" boards contain the hardware for the two control panels, output amplifiers, primary board, secondary board and, of course, the keyboard.
Figure 4-1
Opening for Service
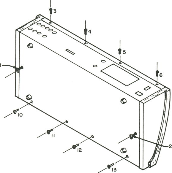
Most servicing may be accomplished by opening the sloping panel. Back off on screws 1 and 2 underneath the Polaris shown in figure 4-2. These screws do not come all the way out, but it will be obvious to you when they disengage. Next, remove screws 3 through 6. The panel may be raised and carefully positioned behind the main chassis with the bracket propped against the chassis as shown in figure 4-1.
Figure 4-2
Keyboard Removal
Certain components on the main board are covered by part of the keyboard. They may be accessed by gently lifting the keyboard and positioning it in front of the main board. To do this, remove inside screws 7 through 9 (fig. 4-1) and bottom screws 10 through 13 (fig. 4-2). CAUTION: watch for keyboard spacer shims.
Replacing Keys
Individual keys may be removed by pressing down on the rear top key shaft while simultaneously pulling the key toward you. Certain natural keys must be removed before pulling a sharp key. Watch for the keyspring as it may pop off upon removing a key. There are two different keysprings, natural and sharp. Since they have different tension values they are not interchangeable.
Replacing Batteries
Although the capacitor on the battery holder retains its charge for a minute or more, to ensure no interruption of power to the memory chips the batteries should be changed with the power on. Alkaline "D" cells should be used. Refer to figure 4-1 for location of batteries.

